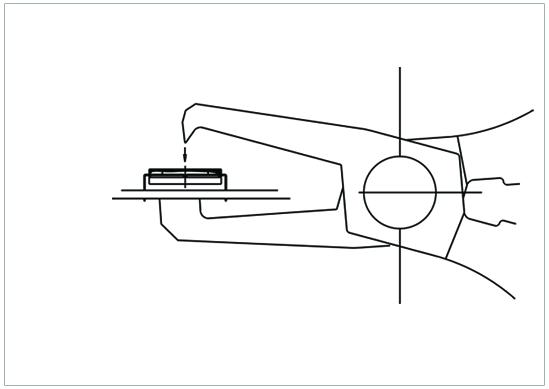
Cutters PINCES Pince à bec effilé courtePince courte à bec platPince longue à bec effiléPince longue à bec platPince à bec rondPince à bec courbéPince coupante à bec rondPince d’insertion de contactPince d’extraction de goupille COUPEURS Tranchant affleurantTranchant affleurant convexeTranchant biseautéCoupe-affleurants à entretoiseCoupeuses obliquesAvec traitement par inductionCoupe-bandes à goupillesPinces à air BRUCELLES TorduESDPlatPrécisionPince à épilerPince à épiler pour la manipulation des composants et des filsPince à épiler pour la manipulation des plaquettesPince à épiler à action inversePince à épiler CMS CISAILLES ET PINCES CiseauxPinces à dénuderCisailles universelles PINCE DE FORMAGE Pince à former en forme de « C »Pince de formage en forme de « U »Pince de formage à 90°Pince de formage en forme de « L »Pince de formage à composants platsPetite pince de formage et de coupe ICPince à couper et à presserPince à tronçonner et plier SÉPARATEURS DE PCB Outils de dépanélisation à la mainOutils de dépanélisation pneumatique ORDER CODE TIP CUTTING FORCE (KG) WEIGHT (G) LENGTH (MM) NOTES PN 5050/5D 3 100g 152mm Dual In Line package jumper pin extraction pliers. ESD-safe handles ORDER CODE TIP CUTTING FORCE (KG) WEIGHT (G) PA_ PN 5050/5D 3 100g PN 5050/5D 3 100g Plier for the extraction of Jumper pins in Dual In Line (DIP) packages. ESD-safe handles. Steel thickness 5mm. Total lenght 152mm. Grip model St. Cutters PINCES Pince à bec effilé courtePince courte à bec platPince longue à bec effiléPince longue à bec platPince à bec rondPince à bec courbéPince coupante à bec rondPince d’insertion de contactPince d’extraction de goupille COUPEURS Tranchant affleurantTranchant affleurant convexeTranchant biseautéCoupe-affleurants à entretoiseCoupeuses obliquesAvec traitement par inductionCoupe-bandes à goupillesPinces à air BRUCELLES TorduESDPlatPrécisionPince à épilerPince à épiler pour la manipulation des composants et des filsPince à épiler pour la manipulation des plaquettesPince à épiler à action inversePince à épiler CMS CISAILLES ET PINCES CiseauxPinces à dénuderCisailles universelles PINCE DE FORMAGE Pince à former en forme de « C »Pince de formage en forme de « U »Pince de formage à 90°Pince de formage en forme de « L »Pince de formage à composants platsPetite pince de formage et de coupe ICPince à couper et à presserPince à tronçonner et plier SÉPARATEURS DE PCB Outils de dépanélisation à la mainOutils de dépanélisation pneumatique