Adelec

contacter Nous
ADELEC international

Le leader dans la distribution d’équipements et de consommables pour l’industrie électronique en Afrique du Nord (Tunisie, Algérie, Maroc).

ADELEC INTERNATIONAL

Z.I Chotrana-Sokra
Lot N° 65-2036 Ariana

(+216) 70 106 200 / (+216) 70 685 977

commercial@adelec.com.tn

+216 70 106 200

Commercial@adelec.com.tn

contacter Nous
ADELEC international

Le leader dans la distribution d’équipements et de consommables pour l’industrie électronique en Afrique du Nord (Tunisie, Algérie, Maroc).

ADELEC INTERNATIONAL

Z.I Chotrana-Sokra
Lot N° 65-2036 Ariana

(+216) 70 106 200 / (+216) 70 685 977

commercial@adelec.com.tn

Cutters

ORDER CODE TIP ESD ORDER CODE Ø MM AWG WEIGHT (G) LENGTH (MM) NOTES
PCC1 Coaxial cable stripper tip - - - 50g 115mm Coaxial cable stripper
PRF 0 Wire stripper tip - 0.8÷2.6 20÷10 50g 115mm Wire stripper
PS 4÷10 Wire stripper tip - 4÷10/0.8÷2.6 6÷000/20÷10 50g 115mm Wire stripper
PST 0.5 Stripping tweezers tip - 0.5 24 33g 125mm Stripping tweezers
PST 0.6 Stripping tweezers tip - 0.6 22 33g 125mm Stripping tweezers
PST 0.8 Stripping tweezers tip - 0.8 20 33g 125mm Stripping tweezers
PST 1.0 Stripping tweezers tip - 1.0 18 33g 125mm Stripping tweezers
PST 1.6 Stripping tweezers tip - 1.6 14 33g 125mm Stripping tweezers
SF 30 Adjustable wire stripper tip SF 30 D 0.20÷0.64 32-22 78g 141mm Adjustable wire stripper
SF 40/1 Flat wire stripper tip - 0.25÷1.0 30-18 22g 50×55 Flat wire stripper
SF 40/2 Flat wire stripper tip - 1.30÷1.8 16-13 22g 50×55 Flat wire stripper
SFF 30 Fixed wire stripper tip SFF 30 D 0.32÷0.51 28-24 76g 141mm Fixed wire stripper
ORDER CODE TIP (Ø MM) AWG WEIGHT (G)

PCC1

50g

PCC1

50g

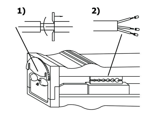
Coaxial cable stripper with double function, as shown in the figure:
1) insert the cable in the correct hole at the side, press and turn the tool 90° at the same time and pull.
2) insert the cable in the central hole, press and turn the tool 90° at the same time and pull.
AVAILABLE WHILE STOCKS LAST.

PRF 0

0.8÷2.6

20÷10

50g

PRF 0

0.8÷2.6

20÷10

50g

Wire stripper.
How to use it: Insert the wire between the 2 jaws up to the point where one wishes to strip and then pull back the tool. If needed, repeat this operation several times while turning the wire.
AVAILABLE WHILE STOCKS LAST.

PS 4÷10

4÷10/0.8÷2.6

6÷000/20÷10

50g

PS 4÷10

4÷10/0.8÷2.6

6÷000/20÷10

50g

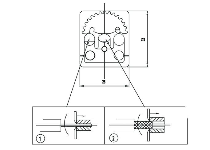
Wire stripper with double function, as shown in the figure:
1) Wire stripper for the outer sheath (from Ø 4 to 10mm – 6-000 awg): insert the cable into one of the frontal holes, press and turn the tool 90° and then pull back.
2) Wire stripper for the internal wires (from Ø 0.8 to 2.6mm – 20-10 awg): insert one of the internal wires into one of the appropriate side holes, press and pull back.
AVAILABLE WHILE STOCKS LAST.

PST 0.5

0.5

24

33g

PST 0.5

0.5

24

33g

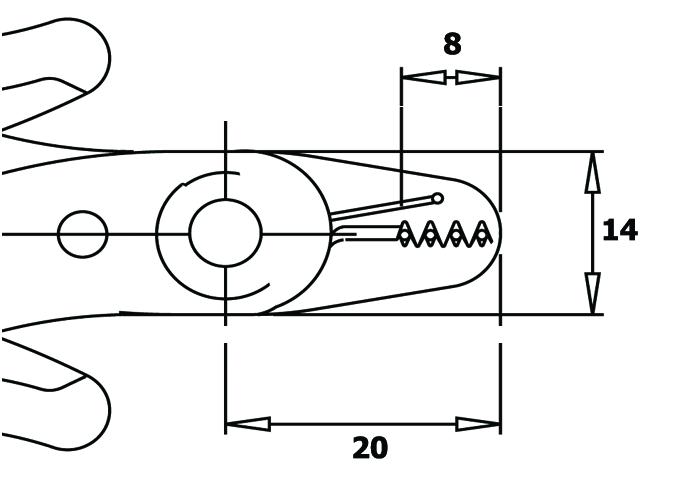
Stripping tweezers for removing insulating coatings from wires Ø 0.5mm.
Lightweight, inexpensive and rapid to use.
High carbon steel tweezers. Plastic handles.
For the electronics industry, repairs and handicrafts.
Made in Italy.

PST 0.6

0.6

22

33g

0.6

22

33g

Stripping tweezers for removing insulating coatings from wires Ø 0.6mm.
Lightweight, inexpensive and rapid to use.
High carbon steel tweezers. Plastic handles.
For the electronics industry, repairs and handicrafts.
Made in Italy.

PST 0.8

0.8

20

33g

PST 0.8

0.8

20

33g

Stripping tweezers for removing insulating coatings from wires Ø 0.8mm.
Lightweight, inexpensive and rapid to use.
High carbon steel tweezers. Plastic handles.
For the electronics industry, repairs and handicrafts.
Made in Italy.

PST 1.0

1.0

18

33g

PST 1.0

1.0

18

33g

Stripping tweezers for removing insulating coatings from wires Ø 1.0mm.
Lightweight, inexpensive and rapid to use.
High carbon steel tweezers. Plastic handles.
For the electronics industry, repairs and handicrafts.
Made in Italy.

PST 1.6

1.6

14

33g

PST 1.6

1.6

14

33g

Stripping tweezers for removing insulating coatings from wires Ø 1.6mm.
Lightweight, inexpensive and rapid to use.
High carbon steel tweezers. Plastic handles.
For the electronics industry, repairs and handicrafts.
Made in Italy.

SF 30

0.20÷0.64

32-22

78g

SF 30

0.20÷0.64

32-22

78g

Wire stripper for diameters 0.20÷0.64mm (32-22 AWG) fitted with an elastic part that enables the stripping of the insulating cable sleeve without damaging the conductor wires. Steel thickness 2.5mm. Grip model St.

Also available in the following version:
– with ESD-safe handles in grey/black (code SF 30 D)

SF 40/1

0.25÷1.0

30-18

22g

SF 40/1

0.25÷1.0

30-18

22g

SF-40-1 is a reliable tool, easy to handle and very fast to use. Flat and lightweight, it can be easily carried in one’s pocket.
Wire stripper for diameters from 0.25mm to 1mm (30-18 awg).
Recommended for electronics applications.

SF 40/2

1.30÷1.8

16-13

22g

SF 40/2

1.30÷1.8

16-13

22g

SF-40-2 is a reliable tool, easy to handle and very fast to use. Flat and lightweight, it can be easily carried in one’s pocket.
Wire stripper for diameters from 1.3mm to 1.8mm (16-13 awg).
Recommended for electronics applications.

SFF 30

0.32÷0.51

28-24

76g

SFF 30

0.32÷0.51

28-24

76g

Fixed wire stripper for diameters 0.32÷0.51mm (28-24 AWG). Steel thickness 2.5mm. Grip model St.

Also available in the following version:
– with ESD-safe handles in grey/black (code SFF 30 D)

Cutters